加入我们
首页
产品与服务
数字造价
品茗胜算造价计控软件
品茗茗算BIM土建计量软件
品茗BIM安装算量软件
品茗BIM市政算量软件
智慧工地
品茗第三代智慧工地云平台
品茗工地人员实名制管理系统
品茗安全知更鸟
品茗行为安全之星
数字基建
品茗数字基建决策指挥平台
品茗数字能源
品茗阳光隧道
品茗数字拌合站
BIM软件
品茗HiBIM土建软件
品茗HiBIM场布软件
品茗HiBIM机电软件
品茗HiBIM机电出图软件
施工软件
茗智·企业大模型
品茗施工云安全计算软件
品茗基建施工云安全计算软件
品茗施工云资料软件
更多产品
解决方案
品茗数字造价解决方案
品茗房建工程解决方案
品茗数字基建解决方案
品茗数智企业解决方案
品茗BIM软件解决方案
品茗施工软件解决方案
品茗人工智能解决方案
品茗数字教育解决方案
品茗数字政务解决方案
典型案例
新闻中心
新闻动态
行业活动
投资者关系
公司公告
实时行情
投资者联络
关于品茗
企业简介
企业文化
联系我们
社会责任
查看全部产品及服务
数字造价
智慧工地
数字基建
BIM软件
施工软件
品茗胜算造价计控软件
品茗茗算BIM土建计量软件
品茗BIM安装算量软件
品茗BIM市政算量软件
品茗验工计控软件
我材助手
品茗涌金水利工程计价软件
品茗土地整理工程计价软件
品茗公路工程计价软件
品茗公路养护工程计价软件
品茗水运工程计价软件
品茗地质灾害防治工程计价软件
品茗涌金精算审核软件
品茗水电工程计价软件
品茗第三代智慧工地云平台
品茗工地人员实名制管理系统
品茗安全知更鸟
品茗行为安全之星
品茗工友一站式服务中心
品茗WiFi安全教育
品茗VR安全教育体验馆
品茗人员定位
品茗塔机安全监控管理系统
品茗塔机驾驶员视觉辅助系统
品茗施工升降机安全监控管理系统
品茗机管大师
品茗环境监测系统
品茗VR质量工艺馆
品茗实测实量
品茗深基坑监测系统
品茗高支模监测预警系统
品茗卸料平台超载报警系统
品茗护栏状态监测系统
品茗移动检查系统
品茗移动巡更
品茗智能物料管理系统
品茗智能大灯控制系统
品茗水电资源监测系统
品茗数字基建决策指挥平台
品茗数字能源
品茗阳光隧道
品茗数字拌合站
品茗数字梁场
品茗数字道路
品茗数字地铁
品茗HiBIM土建软件
品茗HiBIM场布软件
品茗HiBIM机电软件
品茗HiBIM机电出图软件
品茗HiBIM机房预制软件
品茗AI图模管理软件
品茗CCBIM
品茗云协同
品茗BIM魔核引擎
品茗BIM云平台
品茗云族库-企业版
茗智·企业大模型
品茗施工云安全计算软件
品茗基建施工云安全计算软件
品茗施工云资料软件
品茗三维施工策划软件
品茗三维模板脚手架工程设计软件
品茗智绘进度计划软件
品茗智绘标书软件
品茗智绘平面图软件
品茗智绘施工图设计软件
品茗施工方案管理平台
品茗工程资料管理平台
品茗茗课堂学习平台
品茗进度计划管理平台
查看全部解决方案
品茗数字造价解决方案
品茗房建工程解决方案
品茗数字基建解决方案
品茗数智企业解决方案
品茗BIM软件解决方案
品茗施工软件解决方案
品茗人工智能解决方案
品茗数字教育解决方案
品茗数字政务解决方案
品茗造价数字化解决方案
智慧工地解决方案
施工企业解决方案
建设单位解决方案
水利工程智慧工地解决方案
电力工程智慧工地解决方案
交通工程智慧工地解决方案
企业级项目管理数智化解决方案
模架专项施工方案编制解决方案
工程投标技术标解决方案
BIM建模深化及BIM数据应用解决方案
安全专项施工方案整体解决方案
工程投标技术标解决方案
施工资料管理整体解决方案
人工智能解决方案
品茗智能建造解决方案
品茗校企共建“1+X”(BIM)课证融通解决方案
品茗智慧工地教学实践基地建设方案
品茗BIM岗课赛证融通解决方案
品茗智慧工地监管平台整体解决方案
品茗公共资源交易数字化解决方案
品茗“嗨招”电子招标采购解决方案
首页
产品与服务
数字造价
智慧工地
数字基建
BIM软件
施工软件
人工智能
数字教育
数字政务
解决方案
品茗数字造价解决方案
品茗房建工程解决方案
品茗数字基建解决方案
品茗数智企业解决方案
品茗BIM软件解决方案
品茗施工软件解决方案
品茗人工智能解决方案
品茗数字教育解决方案
品茗数字政务解决方案
典型案例
数字造价
智慧工地
数字基建
数智企业
BIM软件
施工软件
人工智能
数字教育
数字政务
新闻中心
新闻动态
行业活动
投资者关系
公司公告
实时行情
投资者联络
关于品茗
企业简介
企业历程
企业文化
企业荣誉
行业报告
影像资料
联系我们
社会责任
加入我们
软件下载
造价软件
施工软件
BIM软件
服务热线
留言咨询
公众号
回到顶部
品茗施工方案管理平台
立即咨询
产品介绍
产品功能
产品介绍
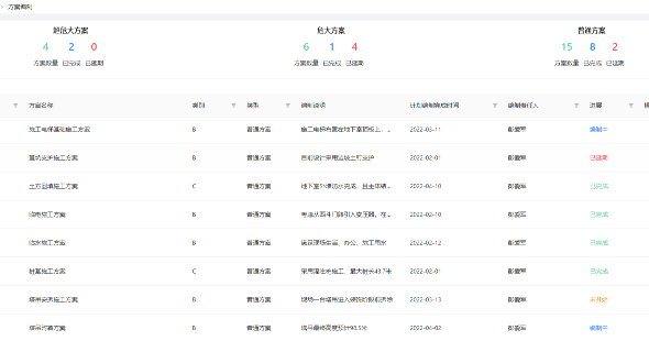
品茗施工方案管理平台
危大管理,方案先行。系统提供更完整的方案编制计划,更专业的方案编制工具,更高效的方案协同指导与审核,以及更便捷的优秀方案库管理,更能结合AI编方案、AI审方案等智能体,让企业施工方案管理真正实现高质量、快审核、易管控。
产品功能
方案清单计划管理
软件统一账号授权
方案编辑好帮手
在线审核无负担
编审协同过程留痕
企业技术财富积累
方案数据可视化
方案清单计划管理
①依据文件要求制定企业超危、危大、普通方案清单,快速创建项目方案编制计划; ②根据方案编制计划,实时提醒延期、待办方案,避免漏做、忘做。